Gas-kvas.com


3d рисунки чертежи для срисовки

3D рисунки и чертежи – это уникальное искусство, которое захватывает воображение своим объемом и глубиной. Созданные с помощью специального программного обеспечения, они позволяют нам взглянуть на мир совершенно иначе. 3D рисунки и чертежи открывают перед нами возможности, которые казались невозможными в двумерном изображении. Они подарят ощущение пространства, реализм и реальность, словно предметы выходят за рамки бумаги или экрана компьютера. Это идеальный выбор для тех, кто хочет добавить эффектности и оригинальности в свои проекты, исследовать новые формы и перспективы, а также вызвать интерес и восхищение у зрителей.



Карточки задания по черчению аксонометрия
Карточки задания по черчению аксонометрия

Инженерная Графика проекционное черчение задания
Инженерная Графика проекционное черчение задания

Творческие задания по черчению 3d AUTOCAD
Творческие задания по черчению 3d AUTOCAD

Простые оптические иллюзии на бумаге
Простые оптические иллюзии на бумаге

Инженерная Графика задание по 3d Автокад
Инженерная Графика задание по 3d Автокад

Инженерная Графика задание по 3d Автокад
Инженерная Графика задание по 3d Автокад

Черчение изометрическая проекция Инженерная Графика
Черчение изометрическая проекция Инженерная Графика

Чертеж опора сталь изометрическая проекция
Чертеж опора сталь изометрическая проекция

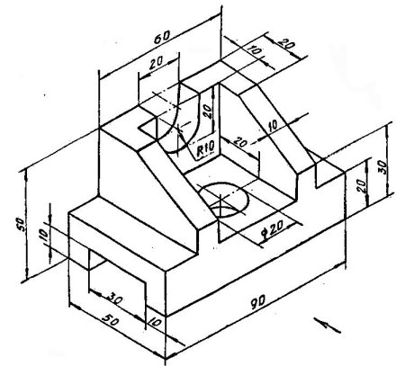
Черчение сложных деталей в аксонометрии
Черчение сложных деталей в аксонометрии

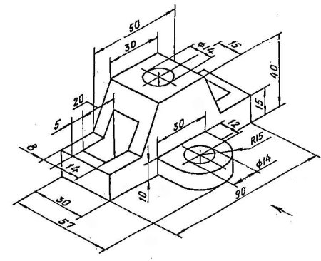
Черчение аксонометрические проекции деталей 3 вида
Черчение аксонометрические проекции деталей 3 вида

Аксонометрическая проекция детали 3 чертежа
Аксонометрическая проекция детали 3 чертежа

Объемные рисунки
Объемные рисунки

Треугольник Пенроуза Эшер
Треугольник Пенроуза Эшер

Аксонометрическая проекция опора сталь
Аксонометрическая проекция опора сталь

Аксонометрическая проекция детали 3 чертежа
Аксонометрическая проекция детали 3 чертежа

Проекционное черчение вид сбоку
Проекционное черчение вид сбоку

Иллюзии карандашом
Иллюзии карандашом

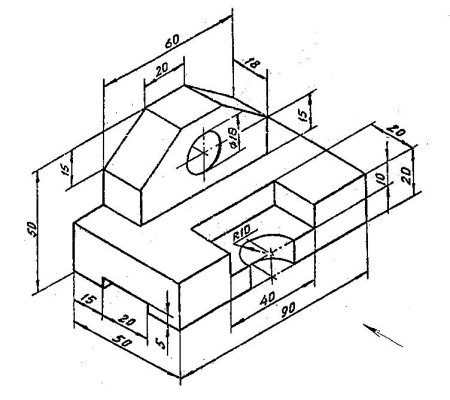
Черчение фиксатор 3 вида
Черчение фиксатор 3 вида

Чертёжный кубики рисунок
Чертёжный кубики рисунок

3d рисунки
3d рисунки

Объёмные рисунки по клеточкам
Объёмные рисунки по клеточкам

3д рисунки
3д рисунки

Инженерная Графика задание по 3d Автокад
Инженерная Графика задание по 3d Автокад

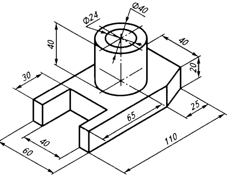
Чертежи деталей для 3д моделирования
Чертежи деталей для 3д моделирования

Изометрическая проекция детали опора сталь
Изометрическая проекция детали опора сталь

Изометрия рисунки
Изометрия рисунки

Solidworks 2d чертеж
Solidworks 2d чертеж

Деталь в аксонометрической проекции Инженерная Графика
Деталь в аксонометрической проекции Инженерная Графика

3д рисунки на бумаге
3д рисунки на бумаге

3д рисунки
3д рисунки

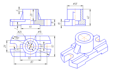
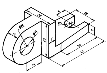
Опора сталь чертеж детали 3 вида
Опора сталь чертеж детали 3 вида

Чертежи для автокада 3д
Чертежи для автокада 3д

Изометрическая проекция детали опора сталь
Изометрическая проекция детали опора сталь

3д рисунки легкие
3д рисунки легкие

Чертежи на бумаге для черчения
Чертежи на бумаге для черчения

Трёхмерные детали чертежи
Трёхмерные детали чертежи

AUTOCAD чертежи 3d
AUTOCAD чертежи 3d

Объемные фигуры по клеточкам
Объемные фигуры по клеточкам

Объемные фигуры карандашом для начинающих
Объемные фигуры карандашом для начинающих

Объемная фигура по черчению
Объемная фигура по черчению

Чертежи 3d solidworks
Чертежи 3d solidworks

Творческие задания по черчению 3d solidworks
Творческие задания по черчению 3d solidworks

Иллюзии карандашом
Иллюзии карандашом

Трехмерные рисунки
Трехмерные рисунки

Рисование объемных фигур по клеточкам
Рисование объемных фигур по клеточкам

Чертежи деталей для компас 3d с модельками
Чертежи деталей для компас 3d с модельками

Рисование объемных фигур по клеточкам
Рисование объемных фигур по клеточкам

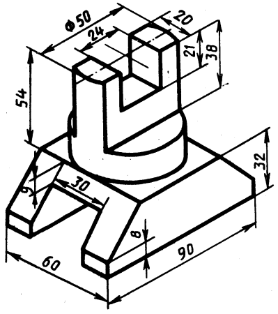
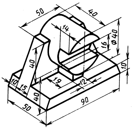
Чертеж кронштейна в трех проекциях
Чертеж кронштейна в трех проекциях

Смотрите онлайн или можете скачать на телефон или компьютер в хорошем качестве совешенно бесплатно. Не забывайте оставить комментарий и посмотреть другие фотографии и изображения высокого качества, например 3d рисунки ребенок и 3d изображения рисунки из раздела Рисунки 3d


Уважаемый посетитель, Вы зашли на сайт как незарегистрированный пользователь. Мы рекомендуем Вам зарегистрироваться либо зайти на сайт под своим именем.