Gas-kvas.com


черчение технический рисунок и эскиз для срисовки

Черчение технического рисунка и эскиз – это процесс создания графического представления объекта, который содержит точные размеры, пропорции и детали. Он используется в различных областях, таких как инженерия, архитектура, производство и дизайн. Чертежи и эскизы помогают визуализировать и передать информацию о конструкции или продукте, что упрощает и ускоряет процесс проектирования и производства. Они являются неотъемлемой частью работ по разработке новых изделий и систем, а также модификации и улучшения существующих. Создание точного и понятного чертежа требует навыков и опыта, а также использования специальных инструментов и программного обеспечения для черчения. В результате, чертежи и эскизы являются важным инструментом для коммуникации и взаимодействия между различными участниками проекта, обеспечивая понимание и согласование в процессе работы.



Технический рисунок
Технический рисунок

Технический рисунок
Технический рисунок

Черчение Инженерная Графика эскизы деталей
Черчение Инженерная Графика эскизы деталей

Штриховка цилиндрических поверхностей
Штриховка цилиндрических поверхностей

Выполнить эскиз детали
Выполнить эскиз детали

Технический рисунок
Технический рисунок

Технический рисунок черчение
Технический рисунок черчение

Чертёж эскиз технический рисунок
Чертёж эскиз технический рисунок

Эскиз детали черчение
Эскиз детали черчение

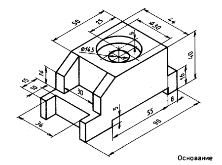
Деталь опора чертеж 3 вида черчение 8 класс
Деталь опора чертеж 3 вида черчение 8 класс

Черчение 9 класс опора сталь чертеж
Черчение 9 класс опора сталь чертеж

Технический рисунок
Технический рисунок

Технический рисунок
Технический рисунок

Технический рисунок
Технический рисунок

Эскиз или чертёж несложной детали из древесины
Эскиз или чертёж несложной детали из древесины

Технический эскиз детали
Технический эскиз детали

Выполнить эскиз детали
Выполнить эскиз детали

Конструирование изделия из древесины
Конструирование изделия из древесины

Технический рисунок детали
Технический рисунок детали

Чертёж детали с размерами для 3d моделирования
Чертёж детали с размерами для 3d моделирования

Порядок выполнения эскиза Инженерная Графика
Порядок выполнения эскиза Инженерная Графика

Техническое рисование черчение
Техническое рисование черчение

Чертеж детали
Чертеж детали

Выполнение эскиза черчение
Выполнение эскиза черчение

Чертеж детали по эскизу
Чертеж детали по эскизу

Выполнить технический рисунок изделия
Выполнить технический рисунок изделия

Черчение рис 202 ботвинников
Черчение рис 202 ботвинников

Технология 7 класс черчение вид сбоку
Технология 7 класс черчение вид сбоку

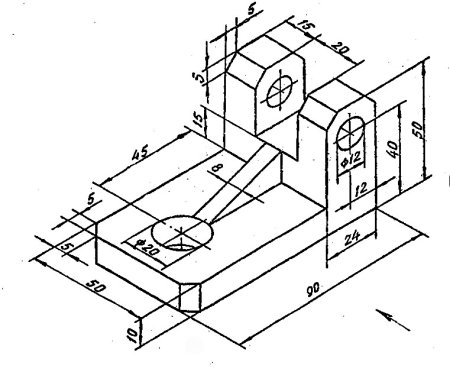
Эскиз детали опора
Эскиз детали опора

Задания по техническому черчению
Задания по техническому черчению

Эскиз простой детали
Эскиз простой детали

Графическая документация
Графическая документация

Чертежи деталей древесины
Чертежи деталей древесины

Инженерная Графика задание по 3d Автокад
Инженерная Графика задание по 3d Автокад

Черчение кораблик
Черчение кораблик

Технический рисунок детали черчение
Технический рисунок детали черчение

Чертёж разделочной доски технология
Чертёж разделочной доски технология

Чертёж эскиз технический рисунок
Чертёж эскиз технический рисунок

Эскиз детали последовательность выполнения эскиза
Эскиз детали последовательность выполнения эскиза

Выполните эскиз детали с натуры.
Выполните эскиз детали с натуры.

Чертеж детали выполняют методом
Чертеж детали выполняют методом

Как правильно научиться читать чертежи
Как правильно научиться читать чертежи

Чертим по клеткам черчение
Чертим по клеткам черчение

Технический рисунок изделия
Технический рисунок изделия

Эскиз несложной детали из древесины
Эскиз несложной детали из древесины

Технология 7 класс черчение вид сбоку
Технология 7 класс черчение вид сбоку

Деталь по черчению 8 класс три вида
Деталь по черчению 8 класс три вида

Технический рисунок
Технический рисунок

Смотрите онлайн или можете скачать на телефон или компьютер в хорошем качестве совешенно бесплатно. Не забывайте оставить комментарий и посмотреть другие фотографии и изображения высокого качества, например рисунок зимние забавы эскиз и эскиз памятника на могилу рисунок из раздела Рисунки эскизы


Уважаемый посетитель, Вы зашли на сайт как незарегистрированный пользователь. Мы рекомендуем Вам зарегистрироваться либо зайти на сайт под своим именем.