Gas-kvas.com


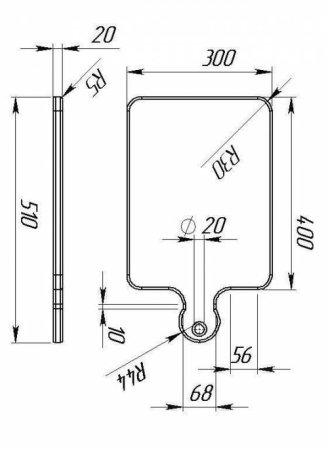
эскиз технический рисунок и чертеж разделочной доски для срисовки

Этот эскиз и чертеж разделочной доски представляют собой детальное техническое описание, которое отображает все необходимые размеры, форму и структуру данного изделия. Разделочная доска является функциональным и практичным аксессуаром для кухни, который обеспечивает удобство и безопасность при приготовлении пищи. Данный эскиз и чертеж являются важными инструментами для производства данного товара, а также помогают визуализировать идею и концепцию разделочной доски перед началом ее производства.



Чертеж несложной детали из древесины
Чертеж несложной детали из древесины

Чертёж разделочной доски 5 класс технология
Чертёж разделочной доски 5 класс технология

Как сделать чертеж разделочной доски
Как сделать чертеж разделочной доски

Разделочная доска из дерева чертежи
Разделочная доска из дерева чертежи

Чертеж кухонной доски
Чертеж кухонной доски

Чертеж разделочной доски вид сбоку
Чертеж разделочной доски вид сбоку

Чертёж разделочной доски технология
Чертёж разделочной доски технология

Чертёж разделочной доски технология
Чертёж разделочной доски технология

Эскиз разделочной доски
Эскиз разделочной доски

Разделочная доска из дерева своими руками чертежи
Разделочная доска из дерева своими руками чертежи

Чертёж разделочной доски технология
Чертёж разделочной доски технология

Разделочная доска из фанеры своими руками чертежи
Разделочная доска из фанеры своими руками чертежи

Чертеж разделочной доски вид сбоку
Чертеж разделочной доски вид сбоку

Технический рисунок изделия
Технический рисунок изделия

Чертёж разделочной доски 5 класс технология
Чертёж разделочной доски 5 класс технология

Чертежи разделочных досок из дерева с размерами
Чертежи разделочных досок из дерева с размерами

Разделочная доска из фанеры своими руками чертежи
Разделочная доска из фанеры своими руками чертежи

Чертеж разделочной доски вид сбоку
Чертеж разделочной доски вид сбоку

Чертеж разделочной доски вид сбоку
Чертеж разделочной доски вид сбоку

Разделочная доска в форме рыбы чертёж
Разделочная доска в форме рыбы чертёж

Чертёж разделочной доски технология
Чертёж разделочной доски технология

Технический рисунок кухонной доски
Технический рисунок кухонной доски

Чертёж разделочной доски технология
Чертёж разделочной доски технология

Чертеж разделочной доски
Чертеж разделочной доски

Кухонная лопатка из дерева чертежи
Кухонная лопатка из дерева чертежи

Чертёж доски сверху сбоку
Чертёж доски сверху сбоку

Технология 5 класс для мальчиков творческий проект
Технология 5 класс для мальчиков творческий проект

Разделочная доска из фанеры своими руками чертежи
Разделочная доска из фанеры своими руками чертежи

Технический рисунок разделочной доски
Технический рисунок разделочной доски

Этапы создания изделий из древесины технологическая карта
Этапы создания изделий из древесины технологическая карта

Эскиз разделочной доски
Эскиз разделочной доски

Разделочная доска из дерева чертежи
Разделочная доска из дерева чертежи

Чертёж разделочной доски технология
Чертёж разделочной доски технология

Доска разделочная деревянная
Доска разделочная деревянная

Эскиз разделочной доск
Эскиз разделочной доск

Чертеж разделочной доски
Чертеж разделочной доски

Формы разделочных досок из дерева чертежи
Формы разделочных досок из дерева чертежи

Эскиз разделочной доски
Эскиз разделочной доски

Разметка заготовки для изготовления разделочной доски
Разметка заготовки для изготовления разделочной доски

Чертеж разделочной доски вид сбоку
Чертеж разделочной доски вид сбоку

Чертеж разделочной доски
Чертеж разделочной доски

Разработка эскиза разделочной доски
Разработка эскиза разделочной доски

Чертежи разделочных досок из дерева с размерами
Чертежи разделочных досок из дерева с размерами

Чертеж кухонной лопатки
Чертеж кухонной лопатки

Графическое изображение разделочной доски
Графическое изображение разделочной доски

Альтернативные варианты проекта по технологии
Альтернативные варианты проекта по технологии

Схема разделочной доски
Схема разделочной доски

Смотрите онлайн или можете скачать на телефон или компьютер в хорошем качестве совешенно бесплатно. Не забывайте оставить комментарий и посмотреть другие фотографии и изображения высокого качества, например сердечко эскиз рисунок и эскиз технический рисунок чертеж масштаб из раздела Рисунки эскизы


Уважаемый посетитель, Вы зашли на сайт как незарегистрированный пользователь. Мы рекомендуем Вам зарегистрироваться либо зайти на сайт под своим именем.