Gas-kvas.com


технический рисунок и эскиз рисунка молотка для срисовки

Молоток – неотъемлемый инструмент в строительстве и ремонте. Он используется для забивания гвоздей, раскола камней и других задач. Технический рисунок и эскиз рисунка молотка помогут визуализировать его форму, размеры и особенности конструкции, что позволит производителям создавать качественные и удобные модели для потребителей. Важно иметь детальный и точный технический рисунок молотка, чтобы избежать ошибок при его изготовлении и обеспечить надежность и безопасность в использовании.



Чертеж молотка с круглым бойком
Чертеж молотка с круглым бойком

Сборочный чертеж слесарного молотка
Сборочный чертеж слесарного молотка

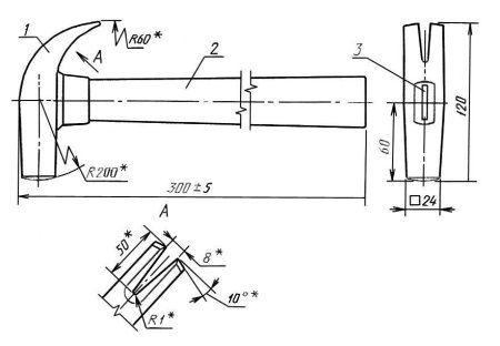
Слесарный молоток с квадратным бойком
Слесарный молоток с квадратным бойком

Молоток осмотрщика вагонов с ручкой т 1352.003 чертеж
Молоток осмотрщика вагонов с ручкой т 1352.003 чертеж

Чертеж киянки технология
Чертеж киянки технология

Молоток слесарный чертеж
Молоток слесарный чертеж

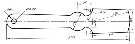
Рукоять для молотка чертеж
Рукоять для молотка чертеж

Чертеж слесарного молотка с круглым бойком
Чертеж слесарного молотка с круглым бойком

Сборочный чертеж изделия киянка
Сборочный чертеж изделия киянка

Чертёж Бойка молотка с размерами
Чертёж Бойка молотка с размерами

Эскиз киянки
Эскиз киянки

Технологическая карта слесарный молоток с квадратным бойком
Технологическая карта слесарный молоток с квадратным бойком

Черчение кораблик
Черчение кораблик

Сборочный чертеж киянки
Сборочный чертеж киянки

Выполнить технический рисунок изделия
Выполнить технический рисунок изделия

Молоток гвоздодер чертеж
Молоток гвоздодер чертеж

Слесарный молоток с квадратным бойком
Слесарный молоток с квадратным бойком

Молоток столярный типа МСТ-3 по ГОСТ 11042
Молоток столярный типа МСТ-3 по ГОСТ 11042

Молоток рисунок карандашом
Молоток рисунок карандашом

Сборочный чертеж изделия киянка
Сборочный чертеж изделия киянка

Сборочный чертеж столярного изделия
Сборочный чертеж столярного изделия

Молоток слесарный чертеж
Молоток слесарный чертеж

Эскиз киянки
Эскиз киянки

Технологическая карта изготовления рукоятки молотка
Технологическая карта изготовления рукоятки молотка

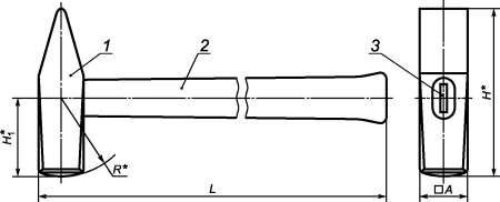
Схематическое изображение молотка
Схематическое изображение молотка

Эскиз чертежа
Эскиз чертежа

Чертёж детали ручка напильника
Чертёж детали ручка напильника

Технический чертеж изделия
Технический чертеж изделия

Молоток столярный типа МСТ-3 по ГОСТ 11042
Молоток столярный типа МСТ-3 по ГОСТ 11042

Чертёж эскиз технический рисунок
Чертёж эскиз технический рисунок

Технический рисунок пример
Технический рисунок пример

Эскиз детали
Эскиз детали

Чертеж несложной детали из древесины
Чертеж несложной детали из древесины

Технический рисунок
Технический рисунок

Зубило эскиз
Зубило эскиз

Молоток раскраска
Молоток раскраска

Штриховка цилиндрических поверхностей
Штриховка цилиндрических поверхностей

Упор для пиления древесины
Упор для пиления древесины

Выполнить на компьютере эскиз несложной детали из древесины
Выполнить на компьютере эскиз несложной детали из древесины

Технологическая карта изготовления скалки на токарном станке
Технологическая карта изготовления скалки на токарном станке

Чертеж кухонной лопатки
Чертеж кухонной лопатки

Раскраска столярные инструменты
Раскраска столярные инструменты

Раскраска строительные инструменты отвертка
Раскраска строительные инструменты отвертка

Черчение 9 класс ботвинников рис 155
Черчение 9 класс ботвинников рис 155

Чертеж картофелемялки (толкушки)
Чертеж картофелемялки (толкушки)

Эскиз или чертёж несложной детали из древесины
Эскиз или чертёж несложной детали из древесины

Смотрите онлайн или можете скачать на телефон или компьютер в хорошем качестве совешенно бесплатно. Не забывайте оставить комментарий и посмотреть другие фотографии и изображения высокого качества, например минимализм эскиз рисунок и рисунки япония эскиз из раздела Рисунки эскизы


Уважаемый посетитель, Вы зашли на сайт как незарегистрированный пользователь. Мы рекомендуем Вам зарегистрироваться либо зайти на сайт под своим именем.